
1月7日,胡润研究院发布《胡润校友会榜》,清华大学稳居第一。而在清华大学上榜校友的名单中,章泽天赫然在列,以净资产600亿的身家在清华优秀校友中排行第三。
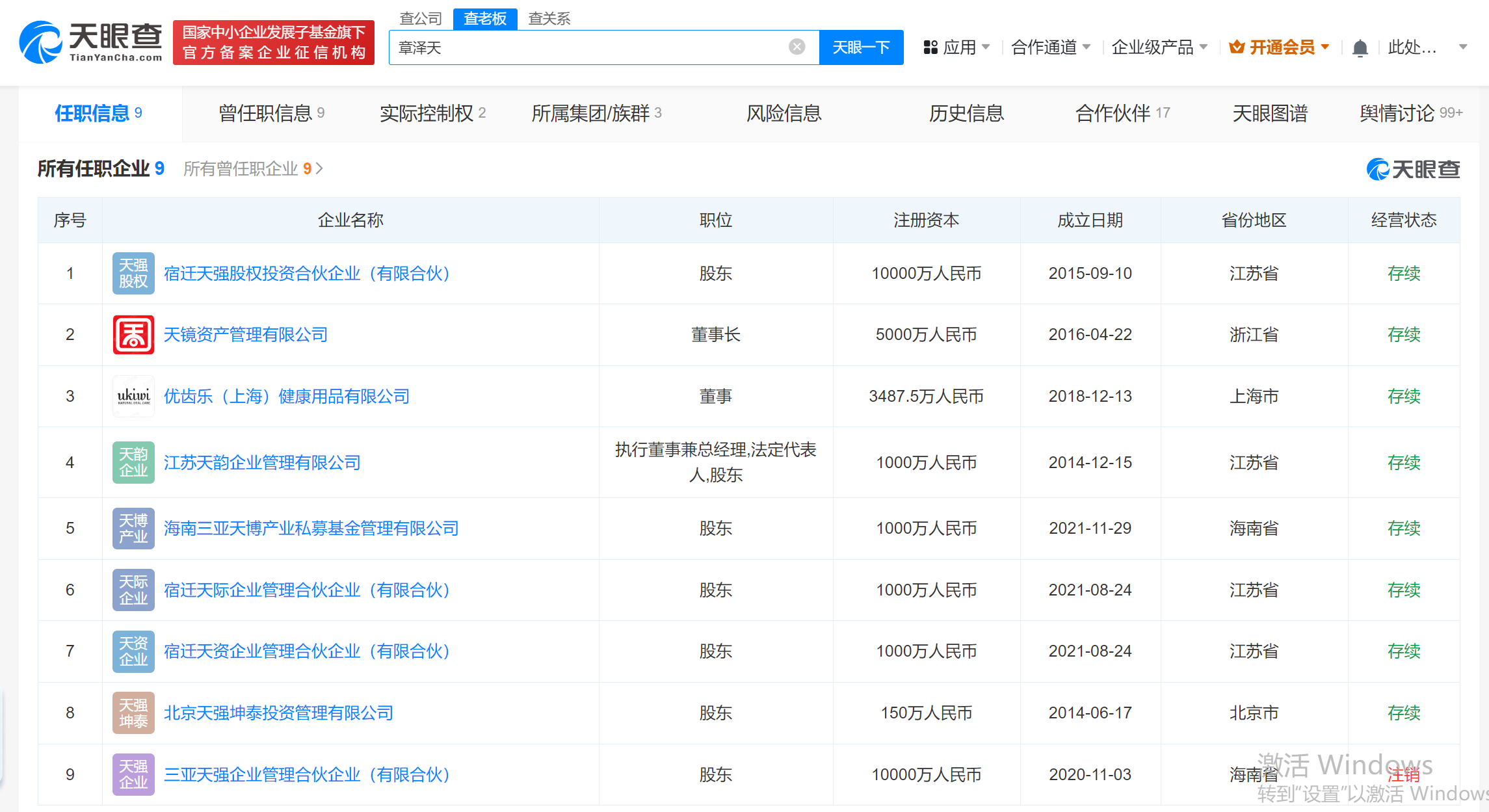
天眼查App显示,章泽天关联的9家企业中8家为存续状态,包括江苏天韵企业管理有限公司、天镜资产管理有限公司等。其中,章泽天持有宿迁天强股权投资合伙企业(有限合伙)、宿迁天际企业管理合伙企业(有限合伙)等6家企业股份,并在天镜资产管理有限公司、江苏天韵企业管理有限公司等3家企业担任高管职务,其版图涉及企业管理、股权投资、基金管理等领域。值得一提的是,海南三亚天博产业私募基金管理有限公司、北京天强坤泰投资管理有限公司、宿迁天强股权投资合伙企业(有限合伙)3家企业为章泽天与刘强东共同持股。
玻璃棉毡厂家
