
3月28日,湖北省咸宁市中级人民法院一审公开开庭审理了中国国家男子足球队原主教练李铁受贿、行贿、单位行贿、非国家工作人员受贿、对非国家工作人员行贿一案。
整个庭审从早上8时30分一直持续到晚上近9时。据在现场采访的北京电视台天天体育栏目记者报道,27日晚咸宁市中级人民法院门口就已经竖起了警栏。28日早上7时15分,四辆法警车驶入法院。由于正值上班时间,法警车的驶入并没有在现场引发围观。
大约十分钟后,李铁的两名辩护人打车抵达法院门口。据辩护律师透露,他们在27日和李铁见过面,李铁的状态比较平稳:“我们两位和李铁在昨天进行了开庭前的最后会见,他的状态还是比较平稳的。”辩护律师同时透露,由于李铁此次涉嫌案件多,估计庭审时间会比较长,但是会在当天开完。

果然,此次庭审的时间持续得非常久。整个上午都是举证质证环节,中午只休息了45分钟,下午的庭审就继续进行。晚上大约5时左右,庭审依然没有结束,有工作人员往法院里运送了盒饭。
庭审中,检察机关出示了相关证据,被告人李铁及其辩护人进行了质证,控辩双方在法庭的主持下充分发表了意见,李铁进行了最后陈述,当庭表示认罪悔罪。
庭审最后,法庭宣布休庭,择期宣判。
据咸宁市人民检察院指控:2015至2021年年间,李铁涉案金额超过1亿元。
2019年至2021年,被告人李铁利用担任中国国家男子足球选拔队(以下简称男足国家选拔队)主教练、中国国家男子足球队(以下简称男足国家队)主教练职务上的便利或者职权、地位形成的便利条件,为相关单位和个人在球员入选国家队、赢得比赛、签约俱乐部等事项上提供帮助,非法收受他人给予的人民币共计5089万余元。
玻璃棉卷毡2019年,李铁为当选男足国家队主教练,请托他人提供帮助,后于2020年给予他人人民币100万元。2019年,李铁在武汉卓尔职业足球俱乐部有限公司(以下简称卓尔俱乐部)任职期间,为谋取当选男足国家选拔队主教练、提高卓尔俱乐部影响力等利益,与该俱乐部负责人商定,请托他人提供帮助,该俱乐部给予他人人民币200万元。
2017年至2019年,李铁利用担任卓尔俱乐部总经理、主教练职务上的便利,为河北华夏幸福足球俱乐部有限公司(以下简称华夏俱乐部)在球员转会、赢得比赛等事项上提供帮助,先后收受华夏俱乐部给予的人民币共计2675万元。
2015年至2019年,李铁先后在华夏俱乐部、卓尔俱乐部任职期间,为赢得比赛或获得有利比赛结果,与俱乐部负责人商定,请托其他足球俱乐部在比赛中配合或者消极比赛,华夏俱乐部、卓尔俱乐部给予相关人员钱款共计折合人民币3905万余元。检察机关提请以受贿罪、行贿罪、单位行贿罪、非国家工作人员受贿罪、对非国家工作人员行贿罪追究李铁的刑事责任。
目前,中国足坛反腐案还在持续推进中,此前中国足球协会原主席陈戌源被判处无期徒刑,中国田径协会原主席、中国足协原副主席于洪臣被判处有期徒刑13年,中超联赛有限责任公司原总经理董铮被判处有期徒刑8年,中国足球协会原常务副秘书长兼国家队管理部原部长陈永亮被判处有期徒刑14年。
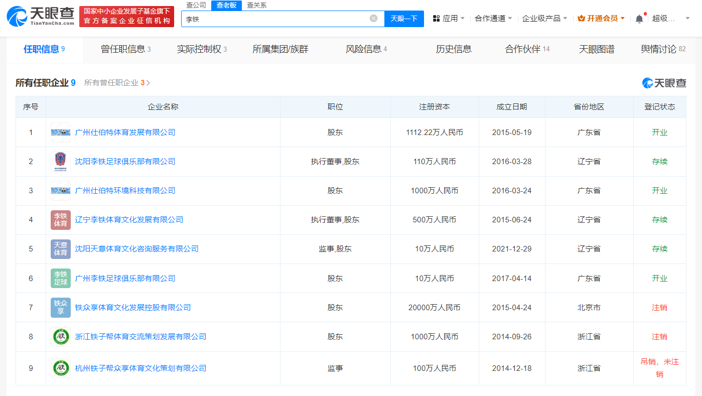
天眼查App显示,李铁关联企业共有9家,其中6家为存续状态,包括沈阳李铁足球俱乐部有限公司、广州仕伯特体育发展有限公司、辽宁李铁体育文化发展有限公司、广州李铁足球俱乐部有限公司等,涉及体育、科技等领域。李铁在上述6家企业中均持有股份,同时在沈阳李铁足球俱乐部有限公司、辽宁李铁体育文化发展有限公司担任执行董事,在沈阳天意体育文化咨询服务有限公司担任监事。值得一提的是,去年12月,李铁持股25.5%的广州仕伯特环境科技有限公司发布注销备案公告,注销原因为决议解散。


关键词:天眼风险、财产线索、深度风险、关联企业、司法案件赣州离心玻璃棉厂家